Rohrdruckmittler RD 60 für hygienische Prozesse

 69760 69770 69780 69790 69800 object_image_64203imagemain_dech
 VOR 69760 69770 69780 69790 69800
 SAL 69760 69770 69780 69790 69800
 SAR 69760 69770 69780 69790 69800
Datenblatt Rohrdruckmittler RD 60 für hygienische Prozesse
AFRISO Datenblatt Rohrdruckmittler RD 60 für hygienische Prozesse

Ausführungen

Prozessanschluss Messgeräteanschluss Nenndruck Mindestanzeigebereich* (in bar) bei Nenngröße Art.-Nr. Merken
63 100 160 DMU
DN 1" Schweißanschluss PN 16 1,6 bar 2,5 bar 1,6 bar 31377W
DN 1½" Schweißanschluss PN 16 1,6 bar 2,5 bar 4 bar 1,6 bar 31378W
DN 2" Schweißanschluss PN 16 1,6 bar 2,5 bar 2,5 bar 1 bar 31379W
DN 2½" Schweißanschluss PN 16 1,6 bar 2,5 bar 2,5 bar 1 bar 31380W
DN 3" Schweißanschluss PN 10 1,6 bar 2,5 bar 2,5 bar 1 bar 31381W

Blaue Art.-Nr. = Lagerware

Beschreibung Format Sprache Download / Link
Datenblatt Rohrdruckmittler RD 60 für hygienische Prozesse Datenblatt PDF
AFRISO Datenblatt Rohrdruckmittler RD 60 für hygienische Prozesse
DMU 13 Vario Flyer PDF
AFRISO DMU 13 Vario
Mess- und Regeltechnik für hygienische Prozesse Produktprogramm Industrietechnik PDF
AFRISO Mess- und Regeltechnik für hygienische Prozesse
Druckmittler Produktprogramm Industrietechnik PDF
AFRISO Druckmittler
STEP 3D Modell RD60_31377W CAD Daten STP AFRISO STEP 3D Modell RD60_31377W
STEP 3D Modell RD60_31378W CAD Daten STP AFRISO STEP 3D Modell RD60_31378W
STEP 3D Modell RD60_31379W CAD Daten STP AFRISO STEP 3D Modell RD60_31379W
STEP 3D Modell RD60_31380W CAD Daten STP AFRISO STEP 3D Modell RD60_31380W
STEP 3D Modell RD60_31381W CAD Daten STP AFRISO STEP 3D Modell RD60_31381W
Anbau- und Kombinationsmöglichkeiten von AFRISO Manometern und Druckmittlern CAD DatenDruckmessgeräte PDF
AFRISO Anbau- und Kombinationsmöglichkeiten von AFRISO Manometern und Druckmittlern
Prozessanschluss/Tubus
Edelstahl 316 L
Clamp-Anschluss ISO 2852
Membrane
Edelstahl 316 L, totraumfrei mit Mantelteil verschweißt
Messgeräteanschluss
Edelstahl 316 L
Schweißanschluss
Druckübertragungsflüssigkeit
Paraffinöl (FM 09), FDA-gelistet
Druckbereich
Siehe Variantenübersicht
Nenndruck
PN 16, PN 10

Optionen

  • Kühlelement (> 100 °C)
  • Kapillarleitung
Für Detailansichten, Zusatzinformationen und Maßtabellen bitte auf das jeweilige Bild klicken.
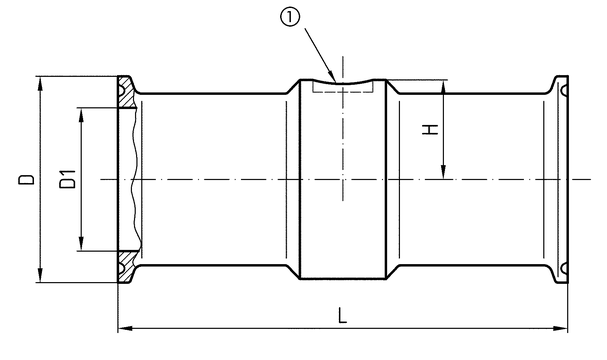
Typ RD 60 Clamp ISO 2852
Typ RD 60 Clamp ISO 2852
AFRISO
  1. Schweißanschluss ⌀ 10 für Messgerät
Maße (mm):
DN PN D D1 L H
1" 16 50,5 22,2 110 24
1½" 16 50,5 34,8 110 31,5
2" 16 64 47,8 110 37
2½" 16 77,5 60,3 110 45
3" 10 91 72,9 60 51,5